Спидометром называют важную деталь транспортного средства, которая измеряет и показывает моментальную скорость движения, а также, рассчитывает проехавшее автомобилем расстояние. Эти данные показывает специальный датчик, что расположен на панели приборов. Если данное устройство неисправно, под угрозу попадает жизнь пассажиров и самого водителя, так как соблюдать правила дорожного движения и установленный режим скорости автомобилисту будет сложно. Именно по этому, каждый водитель должен присматривать за техническим состоянием спидометра и уметь своевременно и самостоятельно выявить причину неисправности и устранить ее.
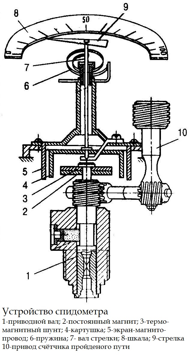
Устройство спидометра
Наличие спидометра считается обязательным для каждого транспортного средства, так как он не только помогает определить скорость движения автомобиля, а и показывает расстояние, которое проехала машина за все время ее эксплуатации. Последнюю информацию показывает счетный узел, который входит в комплектацию спидометра, а именуют его одометром. С его помощью, водитель может в точности определить в какой момент необходимо поменять масло или, например, фильтры. Кроме того, при приобретении подержанного автомобиля, такие данные являются далеко не последними. Также, благодаря одометру можно узнать и промежуточную информацию о пройденном километраже. При помощи такой функции, автолюбитель может рассчитать расход топлива или засечь расстояние, к примеру, от дома до работы.

Правильное определение скорости зависит от основных рабочих элементов — гибкого вала и троса привода. С их помощью, непосредственно от трансмиссии производится передача на устройство вращательного движения, иными словами, они пронизывают всю систему транспортного средства, соединяя панель приборов и коробку передач.
Принцип работы спидометра фактически не менялся на протяжении столетия. За столь длительное время произошли изменения лишь в механизме индикатора.
На сегодняшний день, существует два типа спидометров — электронные и механические.


Первые из них, снабжены электронным индикатором, вроде цифр на дисплее, а вторые — механическим, в виде стрелки. Магнитоиндукционный спидометр является наиболее популярным среди механических приборов. Он снабжен двумя механизмами — счетным и скоростным. Что касается электронного спидометра, то внешне он ничем не отличается от механического варианта, существуют лишь некоторые отличия в их работе.
В современных автомобилях практически не применяют механические спидометры. В частности, из-за того, что их погрешность существенно больше — 15 %, когда у электронных — всего лишь 5 %. Кроме того, механический привод и элементы такого спидометра способны со временем изнашиваться и их приходится менять, что является довольно сложной и трудоемкой операцией, так как нужно положить трос ровно, без ни одного перегиба.


Датчик скорости не работает, причины
Самый явный признак выхода спидометра из строя — когда движение его стрелки отсутствует во время движения транспортного средства. Кроме того, стрелка может дергаться, но прибор все же не будет показывать адекватной скорости. Существует ряд причин, которые могут вызвать неполадки в спидометре:
1.Если отошла гайка, с помощью которой вал спидометра крепится к гибкому валу. Это самая банальная и распространенная причина, из-за которой спидометр может выйти из строя. Ситуацию можно легко исправить, просто подкрутив гайку и надежно зажав крепление. Однако, если эта процедура не дала нужного результата, следует искать дальше.
2. Если в процессе работы оборвался гибкий вал. Такое часто происходит при длительной эксплуатации автомобиля, деталь способна просто износится и лопнуть. В таком случае, устранить неисправность будет гораздо сложнее, однако ничего не возможного нет. Ситуация решается заменой порвавшегося элемента.
3. Если сломался сам механизм спидометра, что расположен на приборной панели. Устранить такую поломку можно путем замены механизма.
4. Если засох вал-тросик. В такой ситуации, необходимо произвести смазку полуразборного вала, что является основным компонентом устройства. Расположена она в специальной оболочке, которая помещается в полихлорвиниловую трубку. Она не позволяет влаге и смазке попадать в механизм, что очень важно для точной и беспрерывной работы гибкого вала. Если жидкость высохла, стрелка устройства будет дергаться, а автомобилист будет слышать типичное шуршание.
5. Кроме того, вызвать такие неполадки может неправильная установка спидометра или его элементов.
6. Если стрелка спидометра зашкаливает, однако положения своего не меняет ни во время остановки, ни во время движения транспортного средства, это свидетельствует о разрыве противодействующей пружины.


Трос спидометра засох, как смазать, ход работы поэтапно
Для того, что бы смазать трос, вам понадобятся такие материалы и инструменты:
1.Специальная консистентная смазка.
2. Гаечные ключи.
3. Отвертка.
Приступаем к работе:
1.Для начала, необходимо открыть капот и выдернуть из коробки тросик — это существенно облегчит операции с приборной панелью. Гнездо расположено в центре моторного отсека.
2. Далее, необходимо опустить руль максимально низко и выкрутить из пластиковой детали два шурупа, которые обрамляют приборную панель.
3. Вытаскиваем элемент и откручиваем еще несколько шурупов.
4. Теперь вытаскиваем из ниши непосредственно приборную панель.


5. Отсоединяем устройство, для чего нужно с двух сторон отвернуть накидные гайки.
6. Вытаскиваем в сторону привода гибкий вал, разводим концы опорной шайбы и снимаем ее.
7. Деталь из оболочки необходимо вытаскивать поэтапно.
8. При помощи керосина удаляем старую смазку, после чего детали нужно просушить.
9. Со стороны привода, смазываем элемент на 23 его длины.
10 Вставляем его в оболочку, закрываем запорной шайбой и монтируем обратно.
11. Плотно затягиваем напорные гайки.
12. Приборную панель следует также установить на место.
Замена спидометра, ход работы поэтапно
Для замены спидометра, необходимо в вышеописанном порядке открутить и снять приборную панель, а затем и сам спидометр. На самом деле, самостоятельная замена спидометра — процесс довольно трудоемкий, но провести его в домашних условиях вполне реально. По сути, что бы заменить спидометр, необходимо просто отсоединить от старого устройства электрические разъемы и подключить их к новому прибору. Для этого, нужно открутить плоскогубцами гайку троса и подсоединить к новому спидометру. В некоторых автомобилях, в частности — ВАЗ 2109, трос спидометра для начала откручивается от редуктора. Такое соединение находится возле коробки передач, под днищем автомобиля.
Откручиваем гайку троса на примере ВАЗ 2109:
1.Привязываем к специальной проушине гайки прочную нить либо мягкую проволоку.
2. Со стороны редуктора из-под днища вытягиваем на себя тросик, что бы окончание проволоки оставалось в салоне транспортного средства.
3. Отвязываем нить от старого троса и привязываем к новому.
4. Затем, необходимо втянуть его в салон и подключить.


Иногда, на неоригинальных тросиках нет проушины. В таком случае, вместо нее используем непосредственно гайку. Что бы запорная шайба легче вставлялась, ее следует смазать литолом.
Советы профессионалов
В любом случае, выход спидометра из строя является довольно серьезной поломкой, допускать которую нельзя. Важно знать, что если в транспортном средстве один механизм функционирует неправильно, это в скором времени может призвести к неисправности другого. Не говоря уже про обычные правила дорожного движения, соблюдать которые, не имея спидометра, не каждому под силу. Следуя вышеописанной инструкции, вы легко сможете обнаружить причину неисправности и устранить ее, не обращаясь за помощью к специалистам. Однако, стоит учитывать и тот факт, что для каждой автомобильной модели существуют свои особенности как демонтажа, так и монтажа этого прибора.